首页
关于我们
产品中心
工程案例
技术创新
新闻动态
服务支持
联系我们
首页
关于我们
产品中心
工程案例
技术创新
新闻动态
服务支持
联系我们
控制篇
ATS自动切换智能控制器
Contact Us
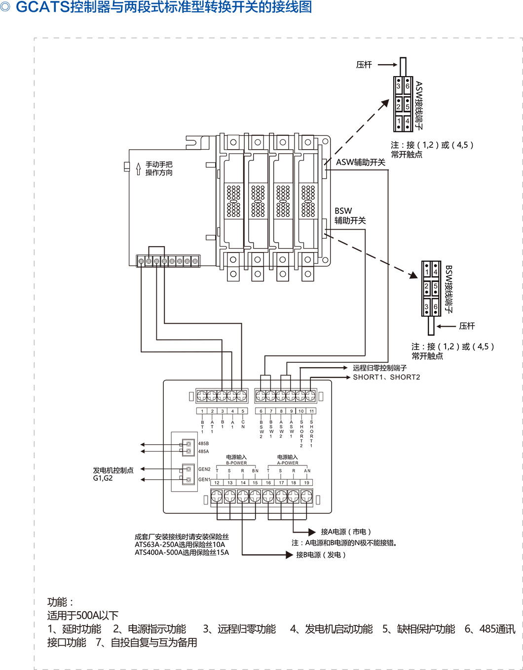
详情介绍:
上一页:
没有了
下一页:
GNQ系列双电源自动转换开关